
一、引言
流量是工业生产中非常重要的热工参数,在用于贸易交接时,其测量精度直接影响贸易公平。目前,天然气作为重要的清洁能源,正以压缩天然气( CNG) 或者液化天然气( LNG) 的方式广泛地应用到城市交通中。但是,由于 CNG 或 LNG 在加注过
程中存在流量和压力的变化,致使传统的流量测量仪表在此状态下不能获得较好的测量精度。科里奥利质量流量计以其高精度、宽量程、低压损、长寿命以及对介质密度和压力不敏感等优点,从众多流量测量仪表中脱颖而出,被推荐为 CNG 流量测量的首选流量计。
1、 修正因子的不一致
CNG 加气机检定装置作为计量标准装置,其精 度指标要求非常严苛,按照 JJF 1583—2016《标准表法压缩天然气加气机检定装置校准规范》的要求, CNG 加气机检定装置采用质量法气体流量装置,校准用介质为压缩空气,分别测量流量区 R( 1 ) 和 R ( 2) 的修正因子,合格的修正因子区间为﹣ 0. 998 ~
0. 998。从科里奥利质量流量计的原理来讲,在零点不发生漂移的前提下,R( 1) 和 R( 2) 的修正因子应
当一致,但在实际检定工作中却并非如此。表 1 是
CNG 加气机检定装置的一次校准结果。
从表 1 中我们看到,R( 1) 和 R( 2) 的误差都为正误差,且 R( 1) 的误差大于 R( 2) 。仅从检定数据来看,由于 R( 1) 超过要求,可以判定此台检定装置不合格。但是,此台检定装置在检定过程中的零点 并未发生漂移,这使得我们必须考虑是否存在未知 的质量流量计固有误差,或者检定方案及流程的不 合理性。不能对此种误差现象进行合理解释,将影 响我们正确地评价 CNG 加气机检定装置。
2、研究方法
对于科里奥利质量流量计的误差研究,目前主要集中在传感器的力学结构和二次仪表的信号处理,这两种研究方向在理论上不存在 R( 1) 和 R( 2) 修正因子不一致的可能。由于我们能够明显地观察到高压气体流动时,传感器两端和连接管路产生的结露现象,表明整个加气过程存在较大的温度变化。因此,我们以科里奥利质量流量计的传感器内流道为研究对象,通过分析气体在传感器内流动时的热力学特性,提出了一种上述现象的成因,并设计实验进行了验证。
3、理论分析
CNG 加气机检定装置由质量流量计、流量计转接头、阀门、精密压力计、加气枪座、通讯控制、电源及附件组成。CNG 加气机检定装置的质量流量计传感器是双管并行结构,流量管内径 7mm。传感器两端分别设有分流器和汇流器结构,用以将上游介质均匀分配进入两根流量管,再汇流排出,分流器和汇流器的接口内径为 15mm。流量计转接头内径为 7mm。由此可见,当介质从上游管路经转接头进入流量计分流器或者从流量管进入汇流器时,存在流通截面的突变。由热力学理论可知,当气体在管道中流动时,由于局部阻力,如遇到缩口和调节阀门时,其压力会显著下降,这种现象叫做节流。工程上由于气体经过阀门等阻流元件时,由于流速大、时间短,来不及与外界进行热交换,可近似地作为绝热过程来处理,称为绝热节流。理想气体在绝热节流前后的温度是不变的。气体在节流过程中的温度变化叫做焦耳-汤姆逊效应( 简称焦-汤效应) 。造成这种现象的原因是因为实际气体的焓值不仅是温度的函数,也是压力的函数。
μ = lim
ΔT H =
T H
Δ
T→0 Δ
p
p
式中: μ 为焦耳-汤姆逊系数;
H 为焓值; Δ
T 为节流后的温度变化; Δ
p 为节流后的压力变化;
T 为温度;
p 为压力。
大多数实际气体在室温下的节流过程中都有冷却效应,即通过节流元件后温度降低,这种温度变化叫做正焦耳-汤姆逊效应。空气和天然气都具有正效应。
质量流量计在分流器和汇流器处存在两次节流,将产生两次温度下降,继而形成温度梯度。考虑到分流器处的截面变化大于汇流器处,所以分流器的温度下降大于汇流器。
科里奥利质量流量计的组成如图 1 所示,包括流量管、检测器、驱动器、热电阻( PT100) 、外壳和变送器等。科里奥利质量流量计的流量管是在谐振 的状态下工作。其谐振频率与流量管的几何尺寸、材料的杨氏模量( 或剪切模量) 有关,而材料的线性膨胀系数和杨氏模量( 或剪切模量) 又与温度有关,

因此,科里奥利质量流量计必须进行温度修正。
通常采用的修正方法是: 在流量管的上游入口处安装温度传感器( PT100) ,实时采集温度值,结合实验测定的温度系数( 通常为负常数) 实现对流量的修正。但是,这种修正的前提是整根流量管的温度保持均匀一致。显然,当流量管存在前述分析的温度梯度时,这种修正会造成错误。
4、实验及结果分析
为验证质量流量计是否存在"节流效应",我们设计了以下实验方案: 制作相同尺寸结构、相同材质的质量流量计传感器,然后分别在流量管的入口、中段和出口处安装温度传感器( PT100) ,再由温度记录仪同步记录一次加气过程中三个位置的温度值,最后计算温度梯度。
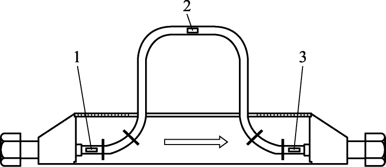
三个温度传感器依次从入口到出口标记为 1、
2、3,如图 2 所示。

分别以压差 20MPa、10MPa、5MPa 为测试点,模拟实际检定状态,其中 20MPa 对应于检定时的 R ( 1) 区,10MPa 和 5MPa 对应于 R( 2) 区,相应的初始流量为 10kg / min、7kg / min 和 5kg / min。
每次测试开始前,先对流量管的温度进行均匀化,待 3 个温度点的温度值保持相对恒定以后,再开始加气操作。
如图 3、图 4、图 5 所示,整个检定过程可总体描述为: 加气初始阶段,三个位置的温度持续下降; 随后,三个点之间的温度下降速率开始产生差异,形成从流量管入口到出口的温度梯度; 加气结束以后,三个点的温度逐步回升,温度梯度逐渐消失。
进一步分析,可以发现三个测试点的温度梯度趋势也有明显区别。温度梯度最大的是初始流量为 10kg / min,加气过程持续了 165s,流量管的入口

图 3 初始流量为 10kg / min 测试

图 4 初始流量为 7kg / min 测试

图 5 初始流量为 5kg / min 测试
和出口处的温差达到 2℃ ; 温度梯度最小的初始流量为 5kg / min,加 气过程持续了 60s,温 差仅为
1. 1℃ 。这表明,在不同初始流量下,流量管的温度梯度和压差相关,且成正比关系。
最后,我们发现,三个测试点的温度梯度并不会随着温度下降而持续增大,而是在较短的时间内形成温度梯度,并保持相对恒定的温差,这表明温度梯度形成与加气时长无关。
5、结束语
通过实验测试,我们验证了理论推测,并得到如下结论:
1) 质量流量计在应用于高压气体测量时,传感器中的流量管会因"节流效应"而形成温度梯度,从而导致错误的温度修正,造成 CNG 加气机检定装置R( 1) 和 R( 2) 的修正因子不一致;
2) 对于同一型号的质量流量计,温度梯度可视为固有误差因素,与生产批次无关;
3) 由于温度梯度与压差相关,因而 R( 1 ) 区由温度梯度所致的误差大于 R( 2) 区。