400-0055-029
地址:西安市经济技术开发区凤城五路105号
邮箱:xs@xnimc.com
电话:029-8668-5660
扫描二维码 公众号
扫描二维码 视频号
扫描二维码 抖音号


行业资讯CMF测量原理
以Micromotion的U型振动管为例,对Coriolis质量流量计的测量做定量分析:
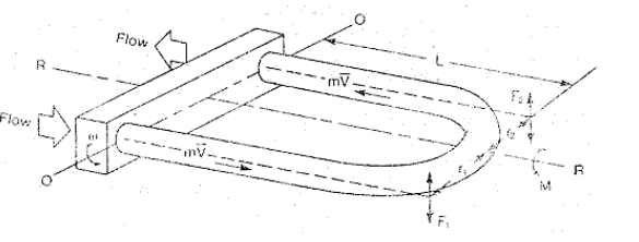
Micromotion的U型振动管,通常振幅小于1mm,频率大约为80Hz.图3.3.3为振动中的测量管,流体被强制接受管子的垂直动量,在管子向上运动的振动半周期时,流入仪表的流体向下压,抵抗管子向上的力.反之,流出仪表流体存在向上的务,抗拒管子对其垂直量的减少而把管子向上推。两个反作用力合成引起流量测量管扭曲;这就是Coriolis效应。在振动的另外半周期,管子向下运动而扭曲方向就相反。图书馆显示一个流体,经过一个测量管,有一个质量m和速度V,它以相对O—O轴线的角速度ω旋转。因而产生Coriolis:

振动中的测量管
F=2mω V (1)
式中F和ω是矢量,Mj包含在长度L测量管中的质量(即半管中的流体质量)。

流体的入口和出口的速度矢量在方向上是相反的,如果从尾端观看这个测量管是两个引线(在图3.3.4中从R—R轴线看进去),由在入口与出口管线上的流体产生的力F1和F2在方向上是相反的,而大小相等。
由于管子相对O—O轴振动,这个力产生一个相对于R—R轴的振动力矩M(半径是r)。
M=F1·r1+F2·r2 (2)
由于F1=F2 r1=r2由式子(1)和(2)得出:
M=2Fr=4ω·V·m·r (3)
质量m是由密度ρ、管截面积A和长度L定义的,速度V是由单位时间的单位L定义的。质量流速Q是由每单位时间内通过的一个给出点质量决定的,那就是m=ρ·A·L及V=L/t 、Q=m/t这样通过取代Q=mv/L式中L是管长,
式(3)变成:M=4ω·r·Q·L (4)
力矩M产生一个角度偏转即扭转角θ,相对于R—R轴线。这扭转角在振动管移动的中点最大

由测量管尾端所显示泊流体力
然而,由M产生的偏转被测量管的伸展弹力K所抵制,总之,对于任何的扭转弹力,扭矩T定义为T=Kθ(5)由于T=M,现在通过组合(4)与(5)式,质量流速Q能与偏转角度θ联系成相关式子。
Q= Kθ/4ω·r·L (6)
在管子轴线中心的移动速度Vt(线速度)乘以时间间隔,就与用几何图形表示的θ有关系。
Sinθ= Vt ·△t/r(7)
由于θ很小,它几乎等于Sinθ,对于小的旋转角Vt是ω和管长L的乘积,那就是θ=Sinθ、Vt=ωL,这样式(7)变成:
θ= ω·L·△t / r (8)
综合式(6)和(8)得出:
Q= (K·ω·L·△t K)/ (4r2ω·L 4r2) = △t (9)
这样质量流量计Q只与时间间隔t和几何常数成比例,Q与ω无关,所以说与测量管的振动频率无关。
质量流量通过用电磁感应器测量偏转角θ获得,如图6所示,在横穿于测量管的中心轴线上的感应器,按一个时间函数测量θ,当没有流量时,在测量和轴线左右之间,上下撞击通过的时间差是0,而随着流量的增加引起θ增加,上下撞击信号之间的时间表差t也增加。测量扭曲多少与流量直接成正比,感应器将管子扭曲引起的时间差,传送到仪表的变送器进行处理转换。

扫描二维码
扫描二维码
扫描二维码